近段时间,全国多地公务员省考面试陆续收官,即将进入拟录用人员公示、政审等阶段,再加上事业单位、国央企部门也将进入招录期,相关舆情将呈现上升蔓延态势。梳理发现,近年来,随着公务员考试热度持续攀升,招录过程也愈发受到舆论关注,尤其是在公示环节,考生背景、考试成绩、录取程序等细节易引发公众讨论,呈现出一定层面上的新动向、新表现、新风险。

图片

为协助各单位提前做好风险研判、前置防范应对举措,新媒体研究院将重点舆情风险梳理如下,有关风险研判如下,以供圈内读者参考。

一是岗位条件设置倾向性过强诱发“萝卜岗”质疑。近年来,多地在招考岗位设置、公示阶段被指存在“萝卜岗”嫌疑,如对于岗位要求如毕业院校、学历专业、爱好特长甚至参与过的竞赛成绩要求等提出量身定做般的要求。如2026年初,某监狱系统招考舞蹈专业毕业生引发设置必要性质疑;又如某省一事业编招聘要求“省运会获得第二名、第三名的特定户籍退役运动员”;再如2024、2025年,某省博物院、某高校公示招录大量东南亚等国家“水学历”人员,2024年某事业编制招聘拟录用一名泰国格乐大学硕士毕业生等事件均曾引发舆论质疑。今年2月,江苏卫视小品《圆桌“悟事”》中将因人设岗的“羽毛球第四上岸”成为热梗,进一步延续了这一话题的热度。

二是被公示人员过往不当网络言行被曝光举报互联网是有记忆的,被公示人员过往在社交媒体上发表的不当言论,可能在公示期被曝光举报。这类言论包括但不限于发表精日、辱华、崇洋媚外等损害国家尊严和民族感情的言论,宣扬极端女权、极端动保等引发社会对立的敏感观点等。此类事件曝光后,可能引发公众对招录政审环节严肃性、考察工作全面性的质疑。例如,2023年,某检察院司法警察岗位的女性考生被曝 长期在社交平台发布极端言论,后当地回应未再走程序。

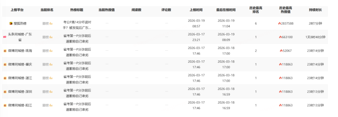
三是利益相关考生之间的举报与攻击。随着竞争日趋激烈,利益相关考生可能通过网络发帖、实名举报等方式,对拟录用人员的笔试面试成绩、资格条件、体检结果等质疑,甚至散布不实信息,如对视频、聊天截图等隐去前因后果,进行断章取义,甚至使用AI软件生成虚假的物料证据,进行恶意举报,破坏正常的招考工作。例如,近期某法院在招考过程中,笔试第一名的考生将自己的成绩通过P分的方式伪造为高分,并通过网络散播,影响竞争对手的备考计划,实施精准心理打击,在面试被识破后遭到竞争对手举报,引发如此个人品德是否适合担任公务员的争议。

四是热点人员借“上岸”话题撩拨舆论情绪。个别人员利用公众对公务员招录的高度关注,通过制造虚假人设或发布争议性言论博取流量,引发舆论风波。例如,2025年曾引发全网舆论争议的“某高校图书馆事件”举报人杨景媛,近期在微博上称自己通过考公“上岸”,撩拨网民对其的再度关注争议,引发对其真实经历及考录公平性的质疑。又如部分高考志愿填报、公务员辅导机构等行业人员利用招考信息制造焦虑情绪等。